您还未登录!请 登录
生活必需 作业/运输
电子信息技术 高技术服务业
专利资助 专利技术推广
01类-化学材料 02类-颜料油漆
软件著作权 作品著作权
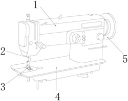
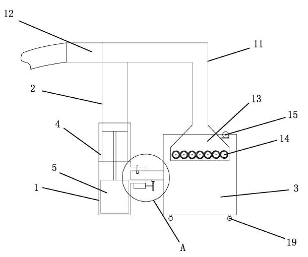
一种便于快速更换机针的纺织机
二级分类:纺织/造纸
价格区间:面议
一种舒适型床单
一种被罩用面料
一种窗帘
一种服装
整经机的纱架
全自动高效抓棉机
用于制作窗帘的纺织布料
抓棉机的吸罩装置
可食用鹿皮户外探险衣的制备方法
柔性无机纤维质及其制备方法
造纸专用海泡石纤维及其制备方法
版权所有:威海惠诚知识产权代理有限公司鲁ICP备16008176号后台管理
地址:山东省威海市环翠区城阳路36号B座605电 话:0631-5166712传 真:0631-5166710技术支持:中威网络